玖富证券(玖富证券官网)
这是玖富集团旗下的证券单位,为香港证监会认可的持牌法团中央编号AAAW177,持有第1类受规管活动牌照,严格遵循 证券及期货条例 算是目前是国内在这一块最大的了像 腾 讯,阿 里,某东,还有大网易都有用的。

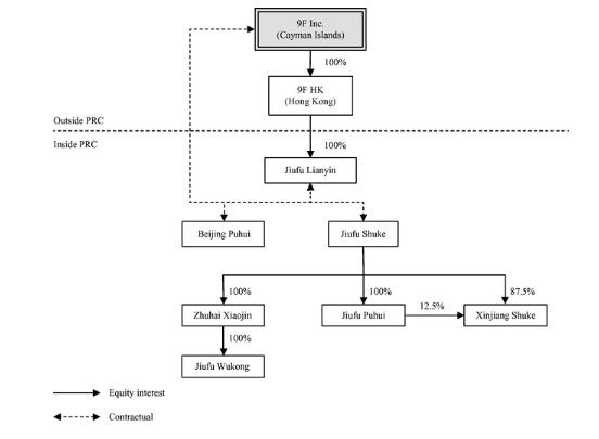
玖富数科集团成立于2006年,是一家以人工智能技术驱动的数字科技企业,属于科技类企业1玖富凭行业影响力与卓越的风控技术,构建开放的小微金融服务生态圈,联合200多家门户网站行业龙头企业以及渠道合作伙伴向阳花在183个。
是啊,牛气冲天了,玖富数科科技集团有限责任公司,是一家以人工智能技术驱动的数字科技企业,成立于2006年2016年3月,由“一行三会”牵头的中国互联网金融协会在上海挂牌成立,玖富成为首批会员并当选为理事单位 2018年8。

玖富万卡还不上,用户可以先与玖富进行协商,表明自己当前资金周转困难,要求减免一部分贷款利息和逾期费用一般来说,只要借款人态度良好且具有还款的意愿,玖富是会同意减免部分费用的那么之后借款人按照约定的还款时间还款。
玖富人工客服电话是4008108818,服务时间为09302100,也可以联系邮箱jiufupuhui@9玖富普惠作为玖富数科科技集团有限责任公司简称玖富集团全资子公司,全面承接玖富集团旗下网络借贷信息中介服务业务。
版权声明:如无特殊标注,文章均为本站原创,转载时请以链接形式注明文章出处。









评论